在遼寧鞍山岫巖滿族自治縣10千伏陸于線84號桿旁路電纜安裝作業現場,鞍山供電公司帶電作業中心員工在人工監護現場安全時,應用該公司自主研發的基于人工智能帶電作業數字化決策系統輔助開展安全管控。該系統可精準辨別現場出現的不安全行為并同步發出告警信息。
“以往,很多影響安全的因素肉眼是無法直觀看到的。"此次作業的工作負責人孫學斌指著基于人工智能帶電作業數字化決策系統配套地面終端顯示屏上的畫面和數據說,“現在有了這個系統,現場環境的溫度和濕度、電力設備的電壓和電流、高空作業人員的體溫和心率等數據,都能一目了然。"
過去開展10千伏帶電作業時,安全監護工作主要由地面安全人員走位觀察完成。受設備遮擋等因素影響,地面安全人員存在視覺盲區。2020年3月,鞍山供電公司依托王家峰勞模創新工作室組建了一支由10名技術骨干組成的攻關團隊,計劃研發一套能夠自動采集和分析帶電作業各項數據的安全管理系統。該系統由采集數據的前端設備、顯示和反饋現場狀況的地面終端、處理和分析數據的智能軟件3部分組成。
面對高空帶電作業人員數據采集問題,攻關團隊成員從極限運動訓練裝備中獲得靈感,用安裝在安全帽上的攝像頭和手腕式手環“無感知"采集第一視角作業影像和人員健康信息。針對氣溫、濕度和氣壓等環境信息,團隊成員則用集成相關傳感器的設備采集圖像。
解決數據采集問題后,如何實時傳輸數據以實現安全風險的動態研判成了攻關團隊面臨的又一個技術難題。團隊成員采用第六代無線局域網技術與長距離無線電通信技術,讓現場信息能夠實時傳輸到配套地面終端,便于內嵌在終端里的各智能模塊進行分析研判,為地面安全人員決策提供參考。團隊成員還基于人工智能算法,同步搭建了配電線路帶電作業智能輔助系統,集成了操作區域穩定狀態圖像模型庫與不同風險等級狀態的3D圖像模型庫等,具備了人員狀態綜合監測、狀態評估分析、異常狀態預警、自適應狀態調節、應急協同聯動、系統管理6項功能。

一、產品概述(LYDY-V電力體制改革“絕緣油介質損耗及體積電阻率測試儀"重量輕,簡便實用)
是用于絕緣油等液體絕緣介質的介質損耗角及體積電阻率測試的一體化結構的高精密儀器。內部集成了介損油杯、溫控儀、溫度傳感器、介損測試電橋、交流試驗電源、標準電容器、高阻計、直流高壓源等主要部件。其中加熱部分采用了當前*為先進的高頻感應加熱方式,該加熱方式具備油杯與加熱體非接觸、加熱均勻、速度快、控制方便等優點。交流試驗電源采用AC-DC-AC轉換方式,有效避免市電電壓及頻率波動對介損測試準確性影響,即便是發電機發電,該儀器也能正確運行。內部標準電容器為SF6充氣三極式電容,該電容的介損及電容量不受環境溫度、濕度等影響,保證儀器長時間使用后仍然精度一致。
內部采用全數字技術,全部智能自動化測量,多種模式測式,配備了大屏幕(320×240)觸控式顯示器,全中文菜單,每一步驟都有中文提示,測試結果可以打印輸出,操作人員不需專業培訓就能熟練使用。
鄭重提醒:本公司提醒用戶,該設備有高壓輸出,如果使用不當可能危及人身安全!
操作員在未仔細閱讀使用說明書之前,嚴禁使用本儀器!
二、控制面板(LYDY-V電力體制改革“絕緣油介質損耗及體積電阻率測試儀"重量輕,簡便實用)
圖一 控制面板圖
1.主面板功能區
微型打印機:完成輸出數據打印;
總電源開關:設備輸入電源控制;
觸控式液晶顯示屏:主操作區,設備各項目的設定以及測試操作(具體操作見 “操作");
狀態指示區;
高壓燈(紅色): 如果燈亮,表示油杯上已經帶高壓電;
加熱燈(綠色): 如果燈亮,表示加熱爐正在加熱;如果燈閃爍,表示已接近設定溫度,正在恒溫;燈滅時同樣要注意油杯上的高溫;
RS232端口:設備計算機控制串口,通過計算機控制設備的運行;
復位:初始化整機的全部控制;
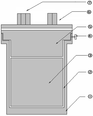
三、油杯簡介(LYDY-V電力體制改革“絕緣油介質損耗及體積電阻率測試儀"重量輕,簡便實用)
1.油杯結構


圖二 油杯結構圖
①油杯杯體,測量加壓極 ②油隙
③油杯內電極,測量測試極 ④內電極固定鈕
⑤油杯內電極,測量屏蔽極 ⑥測試端
⑦溫度接口
2.油杯技術標準
油杯采用三極式結構,全部符合GB5654-85標準,極間間距2mm,可消除雜散電容及瀉漏對介損測試結果的影響。
3.油杯使用
裝入油杯:
將油杯平穩放入儀器加熱爐內,保證油杯底部接觸良好,以便有良好電接觸和熱接觸,裝入后應將測試線接好,黑色線是信號測試線,白色是溫度測量線
取出油杯:
必須在斷電情況下,先取下短的黑色、白色測量線后直接將油杯取出。
4.拆裝油杯電極
將內電極固定鈕④旋松后可將內電極全部取出;同樣,裝入內電極后應將內電極固定鈕④旋緊。
5.裝入油樣
將取出內電極的后油杯杯口朝上,然后將其向下輕斜約60度左右,再將裝有40ml被試油樣的量杯的杯口邊緣碰到油杯杯口內壁,接著量杯慢慢輕斜,緩慢將油倒入, 注意盡可能不要在油中夾入氣泡;完成后便可將內電極慢慢裝入油杯,然后打擰好內電極固定鈕,再將整個裝完油的油杯放入主機靜止15分鐘(這樣可很好的將大部分氣泡排出;如不靜止,將直接影響設備加壓情況以及數據的準確);*后就可以運行主機。
注意:內電極系非常精密部件,取出、裝入時一定動作緩慢,平穩,內外電極間不要碰撞,以防破壞表面,導致整個油杯報廢;
6.油杯清洗
全部清洗:測量前,應對油杯進行的清洗,這一步驟非常重要。因為絕緣油對極微小的污染都有極為敏感的反應。因此必須嚴格按照下述方法要點進行。
全部拆卸油杯電極;
用中性擦皂或洗滌劑清洗。磨料顆粒和磨擦動作不應損傷電極表面;
用清水將電極清洗幾次;
用沒水酒精浸泡各零件;
電極清洗后,要用絲綢類織物將電極各部件的表面擦拭干凈(別的布料會有絨毛粘在電極上),并注意將零件放置在清潔的容器內,不要使其表面受灰塵及潮氣的污染;
將各零部件放入100℃左右的烘箱內,將其烘干。
以油洗油:有時由于油樣很多,所以在測量中往往會一個接一個油樣進行測量。此時電極的清洗可簡化。具體做法如下:
將儀器關閉,將整個油杯都從加熱器中拿出,同時將內電極從油杯中取出;
將油杯中的油倒入廢油容器內,用新油樣沖洗油杯幾次;
裝入新油樣;
用新油樣沖洗油杯內電極幾次,然后將內電極裝入油杯。
附說明:以油洗油的清洗方式可大大提高了測量速度,但如遇到特別臟的油樣或長時間不用時,應使用前面一種方式。
7.油杯主要技術參數
⑴ 高低壓之間距離 2mm
⑵ 空杯電容量 60±2PF
⑶ *大測試電壓 工頻2000V
⑷ 空杯介損 tgδ<1×10-4
⑸ 液體容量 約40ml
⑹ 電極材料 不銹鋼
體積 70mm(D)×120mm(H)
四、工作原理(LYDY-V電力體制改革“絕緣油介質損耗及體積電阻率測試儀"重量輕,簡便實用)
1.內部功能構造框圖

圖三 儀器內部功能構造框圖
2.介損測量原理圖

圖四 介損測量原理圖
3.工作原理
加熱
采用高頻感應爐加熱,啟動加熱后,溫控CPU發出加熱命令,同時采集油杯內部溫度傳感器的溫度值,加熱采用變功率控制和PWM控制兩者相結合的控制方式。在油樣溫度較低時,用大功率加熱方式,這有利于縮短油樣加熱時間;待溫度升至接近預設溫度時,采用較小功率PWM加熱方式,這樣有利于油樣加熱均勻。
高頻感應爐加熱避免了發熱塊加熱不均勻的現象。
控溫
在實測溫度接近預設溫度時,溫控CPU采用小功率PWM方式加熱,采樣溫度值經PID運算,分析出*佳PWM控制占空比,使溫度嚴格控制在預設溫度誤差范圍以內。
介損測量
試驗電壓同時加在儀器內部標準電容器及油杯加壓極上,測量電路對這兩路信號進行PGA等控制后對兩通道信號進行同步AD采樣,將數字信號送DSP(數字信號處理器),DSP對其進行濾波、FFT等運算后計算出tgδ、C x 、ε等參數,送主控CPU。
體積電阻率測量
直流高壓試驗電壓加在油杯加壓極上,經過測試回路,產生一微弱電流信號,該微弱電流信號經測量電路放大后送進AD采樣,將數字信號送DSP(數字信號處理器),DSP對其信號進行處理,計算出Rx、ρ等參數,送主控CPU。
4.名詞解釋
試驗源為AC tgδ :油樣介質損耗角正切值;
Cx :油樣油杯的電容值;
εr :相對介電常數,是根據電容值換算而得到的;
試驗源為DC Rx :油樣的絕緣電阻;
ρ :油樣的體積電阻率,是根據絕緣電阻換算而得到的;
基于上述兩種不同的試驗電源對油樣有不同的極化效應,因而重復測試時,中間必須有足夠的放電時間!否則數據不可靠! |
五、主要技術指標(LYDY-V電力體制改革“絕緣油介質損耗及體積電阻率測試儀"重量輕,簡便實用)
1 | 使用條件 | -15℃∽40℃ RH<80% | |
2 | 電 源 | AC 220V±10% 頻率無限制 | |
3 | 交流高壓輸出 | 400V∽2200V ±2% 每隔100V 50VA | |
4 | 直流高壓輸出 | 200V∽600V ±2% | |
5 | 溫控感應爐 | *大功率500W | |
6 | 溫度控制范圍 | <100℃ | |
7 | 溫度控制誤差 | ±0.5℃ | |
8 | 溫度測量分辨率 | 0.1℃ | |
9 | 控溫時間 | 室溫到90℃ 小于20min | |
10 | 測量范圍 | tgδ C x R | 無限制 15PF-300PF 10M-10T |
11 | 分辨率 | △ tgδ: △ Cx : △ Rx : | 0.001% 0.01pF 0.01 |
12 | 精 度 | △ tgδ: △ Cx : △ Rx : | ±(讀數*0.5%+0.040%) ±(讀數*0.5%+0.5PF) ±讀數 * 10% |
13 | 相對介電常數 | εr | 根據Cx自動計算,精度同Cx |
14 | 體積電阻率 | ρ | 根據Rx自動計算,精度同Rx |
15 | 外形尺寸 | 450(L)×310(W)×360(H) | |
16 | 重 量 | 18Kg | |
六、主機操作
1.主菜單界面說明

圖五 主菜單圖
主控制項目
<時間設置>
功能:用于校準時鐘、日歷,此時鐘在停電后會繼續運行。
<數據管理>
功能:用于查詢以前實驗的存儲數據結果。
<參數設定>
功能:用于設置恒溫溫度及介損測試電壓。
<直接測試>
功能:不加熱直接進行介損測試。
用途:主要用于測試空杯介損及室溫時油樣介損。
<加熱測試>
功能:在加熱到設定溫度的整個過程中的任意時間段手動啟動對設定項的測試。
用途:主要用于需要掌握中間某溫度段的介損值。
<自動測試>
功能:加熱到油樣溫度達到設定溫度后,設備系統將按照操作員預先的設定,自動完成整個測試流程。
用途:主要用于自動測試設定溫度的介損值。
輔助功能項目
<日歷>
顯示位置:主菜單界面左上角(圖五“2012-03-28 10:50:31"部分);
功能:時間提示
<設備編號和出廠日期>
顯示位置:主菜單界面底部(圖五“設備編號:612010 出廠日期:20120615"部分);
功能:指示設備信息
<實時溫度狀態指示區>
顯示位置:主菜單界面右上角(圖五“18.6℃"部分);
功能:實時監控用戶在參數設定中所設定恒溫條件的溫度;設置為外電極則顯示油杯外電極溫度;設置為內電極則顯示油杯內電極溫度;設置為平均溫則顯示內外電極的平均溫度。
2.儀器操作說明及注意事項
儀器開始運行時,應先接地端接地,電源入口引入AC220V電源;
打開箱蓋,可將油杯取出,加熱及測試介損時,應將箱蓋關上;
接通電源前,須保證箱蓋內兩根測量線,完好連接;
加熱后的油杯上會有高溫,如要取出油杯等物,應小心操作,以免灼傷;
啟動測試后,油杯上會帶高壓電,嚴禁此時取杯;如要取油杯,請復位設備,斷電后取杯,操作應小心,以免觸電;
箱蓋具有合蓋保護,打開盒蓋時,會中斷加熱及中斷高壓;
如非必要,不得在測試過程中打開箱蓋;
移動設備時應將油杯取出單獨包裝,以防止從中掉出打壞油杯。
3.菜單操作詳細說明
1、從主菜單界面按下“時間設置"菜單進入“附屬菜單-1";
2、按增減鍵可調整需要的設定操作;
3、調整完成后,應按下“保存"鍵 ,才能激活調整的數據;直接“返回",調整數據將無效;
4、不做操作,請按“返回",退回主菜單界面。
時間設置

附屬菜單-1
數據管理
1、從主菜單界面按下“數據管理"菜單進入“附屬菜單-2";
2、按“上頁、下頁“鍵可選取測試存檔的數據組;
3、查看存檔測試數據組時,直接點擊需要的數據組;
4、不做操作,請按“返回",退回主菜單界面。

附屬菜單-2
附說明:時間、日期為該數據組測試時的實時時間;測試項目的設定在“參數設定"中設置。
數據管理附屬菜單
1、在“附屬菜單-2"中,直接點擊需要的數據組進入“附屬菜單-3";
2、按“打印"鍵,可打印出存檔測試結果以及其它信息;
3、不做操作,請按“返回",退回上上等菜單。

附屬菜單-3
附說明:HV為測試電壓,Tt為測試時的溫度狀態。
參數設定
1、從主菜單界面按下“參數設定"菜單進入“附屬菜單-4";
2、直接點擊需要設定項后面的參數值進行選定操作;
3、按增減鍵可調整需要的設定操作;
4、調整完成后,應按下“保存"鍵 ,才能激活調整的數據;直接“返回",調整數據將無效;
5、不做操作請按“返回",退回主菜單界面。

附屬菜單-4
附說明:
預設溫度設置
方法:該設置項一般設置為“90℃",*高溫度100℃;直接點擊“90℃"文字上,按“↑、↓"進行溫度設置。
用途:于“加熱測試時",加熱到設定預設溫度時,停止加熱,然后恒溫;于“自動測試"時,當溫度加熱到預設溫度時,設備將進行自動測試。
恒溫條件設置
方法:該設置項一般設置為“外電極",直接點擊“外電極"或其它條件文字上,按“↑、↓"進行恒溫條件切換。
用途:這是基于預設溫度下的另一外加條件,此條件分:外電極、內電極及平均溫三種;
外電極:該電極為加壓極上的溫度,為*為接近油溫的溫度;
內電極:該電極為測試極上的溫度;
平均溫:該溫度是內、外電極的兩組溫度的平均值。
當設置為“外電極"時,主菜單界面的實時溫度狀態指示區顯示的溫度就為外電極的實時溫度;而在“加熱測試",當“外電極"溫度達到“預設溫度"時,設備會停止加熱,將保持在預設溫度點;“自動測試"時,將會在“外電極"溫度達到“預設溫度"的一瞬間啟動測試。當設置內電極或平均溫時,設備就會在相應條件下的運行。
HV(tgx)設置
方法:該設置項一般設置為“2000V"AC,直接點擊“XXXX(AC)"文字上,按“↑、↓"進行測試電壓的調節。
用途:請注意該項為tgx、Cx、εr的測試電壓,在測試時,設備將按照設置的電壓,進行加壓測試。
HV(Rx)設置
方法:該設置項一般設置為“500V"DC,直接點擊“XXX(DC)"文字上,按“↑、↓"進行測試電壓的調節。
用途:請注意該項為Rx、ρ的測試電壓,在測試時,設備將按照設置的電壓,進行加壓測試。
自動打印設置
方法:直接點擊“開、關"文字上,按“↑、↓"進行自動打印的開啟和關閉的切換。
用途:基于“自動測試"模式下,測試完成后,是否自動打印數據的設置。
tgx Cx 選項設置
方法:直接點擊“開、關"文字上,按“↑、↓"進行該測試項的開啟和關閉的切換。
用途:選擇“開"時,當“直接測試"、“加熱測試"及“自動測試"三種測試模式時,就都會對“tgx、Cx、εr"測試項進行測試;如選擇“關"時,則不會對該測試項測試。
Rx、ρ 選項設置
方法:直接點擊“開、關"文字上,按“↑、↓"進行該測試項的開啟和關閉的切換。
用途:選擇“開"時,當“直接測試"、“加熱測試"及“自動測試"三種測試模式時,就都會對“Rx、ρ"測試項進行測試;如選擇“關"時,則不會對該測試項測試。
注意:在所有的參數設置完成后,必須點擊“保存",方可激活您的設定,否則將不能執行新的設定。
加熱測試
1、按下“加熱測試"菜單進入選項菜單 ,選擇“開始"進入“附屬菜單-5";
2、可在設定溫度以內,任意實時溫度段,按下“測試"鍵進行測試;
3、測試數據出來后,按“打印"鍵,可測試結果以及其它信息;
4、終止操作,請按“返回",退回主菜單界面。

附屬菜單-5
附說明:直接測試時,按下“直接測試"菜單進入選項菜單 ,選擇“開始"進入測試中;自動測試時,按下“自動測試"菜單進入選項菜單 ,選擇“開始"進入智能自動測試中;操作與之類似,不作說明。
測試結果
1、測試完成后,設備自動進入“附屬菜單-6";
2、按“打印"鍵,可測試結果以及其它信息;
3、終止操作,請按“返回",退回主菜單界面


附屬菜單-6
附說明:當“參數設定"中tgδ 、Cx和Rx、ρ都開啟時,設備同時測試兩組項目,測試數據結果為“附屬菜單-6"所示為兩組;當“參數設定"中tgδ 、Cx和 Rx、ρ任意一項關閉時,設備只測試開啟項目,測試數據結果為開啟項目的那一組。

在安徽潛山市500千伏余文線一基鐵塔下,安徽送變電工程有限公司無人機中心員工程海、韓文杰操控兩架分別掛載了X射線機和平板探測器的無人機,使其飛抵鐵塔中相4號子導線位置。20秒后,清晰的線夾內部影像就回傳到了無人機遙控器顯示屏上。
供電員工運維架空輸電線路,需要定期檢測耐張線夾等金具的壓接質量。在輸電線路“三跨"(跨越高速鐵路、高速公路、重要輸電通道)區段,金具壓接質量還關系到重要交通設施的安全運行。傳統的檢測金具壓接質量的方式是在線路暫時停運期間人工登塔檢測,存在一定作業風險。由于部分線路停運協調難度大,檢測周期長,隱蔽性缺陷難以被及時發現。
安徽送變電公司加快“無人機+金屬檢測"技術研究,組織成立攻關團隊,依托無人機智能巡檢技術實驗室研制了機載智能金屬檢測裝置。該裝置采用分體式設計,分為X射線機和平板探測器兩部分,每個部分重量在5千克以內,最大限度減少無人機吊運重量。平板探測器配置了步進電機,通過遠程遙控可以使平板探測器多角度轉動,滿足不同角度線夾檢測的需要。“應用這個裝置,一次作業就能檢測單相導線所有線夾金具情況。"
上海來揚電氣轉載其他網站內容,出于傳遞更多信息而非盈利之目的,同時并不代表贊成其觀點或證實其描述,內容僅供參考。版權歸原作者所有,若有侵權,請聯系我們刪除。